同期検波
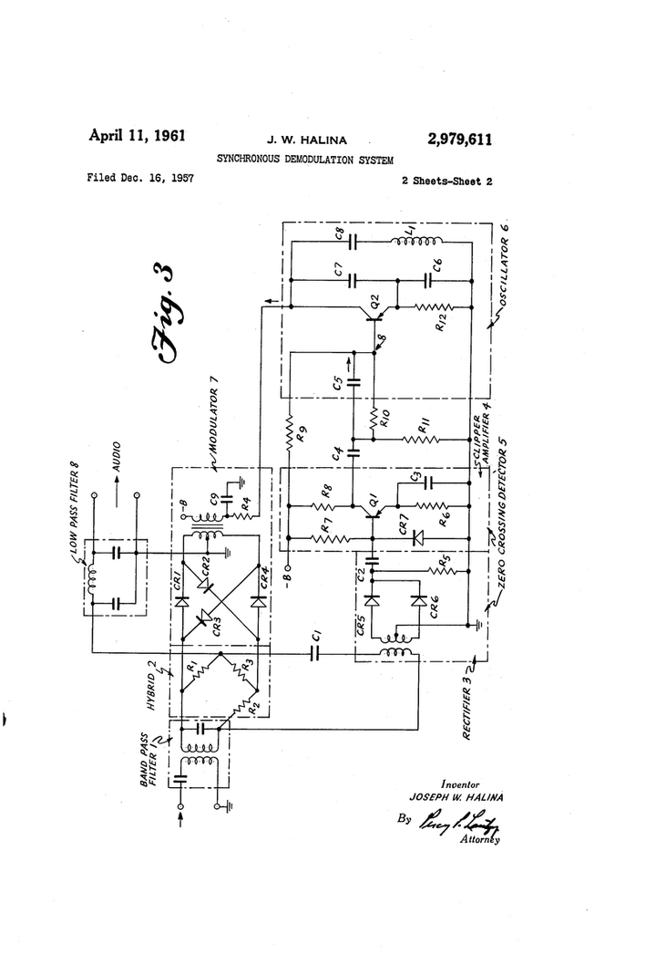
トランジスタでの特許例 1957年申請
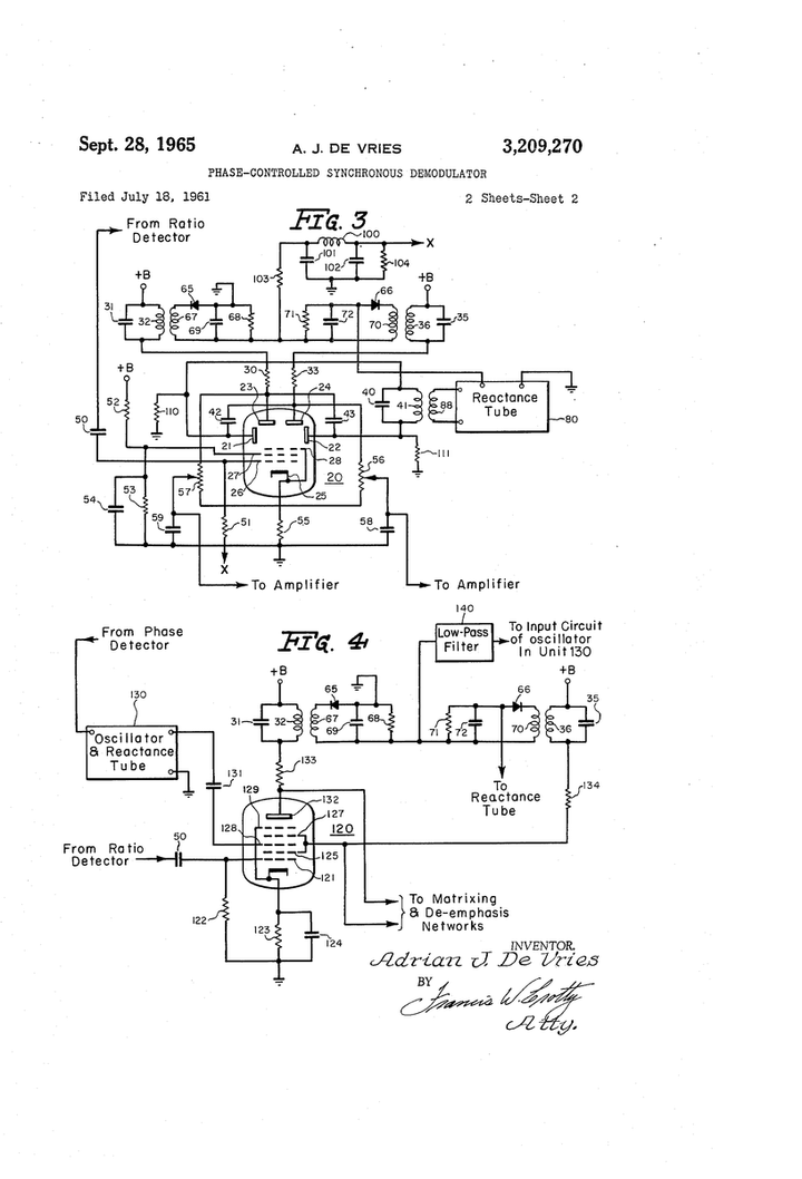
真空管での特許例:1961年申請
***************************************
真空管7360は1960年登場。100MCまで動作。
The new beam deflection tube described here appears to be
a bulb-full of versatility, with more applications than were
visualized when the tube was under development as an
improved type of balanced modulator. This article tells how
the 7360 can be put to work in a number of ways in the
amateur field, particularly in SSB transmission and
reception
