もどき とは、
普通に悪い意味です。近20年 気になっていた。
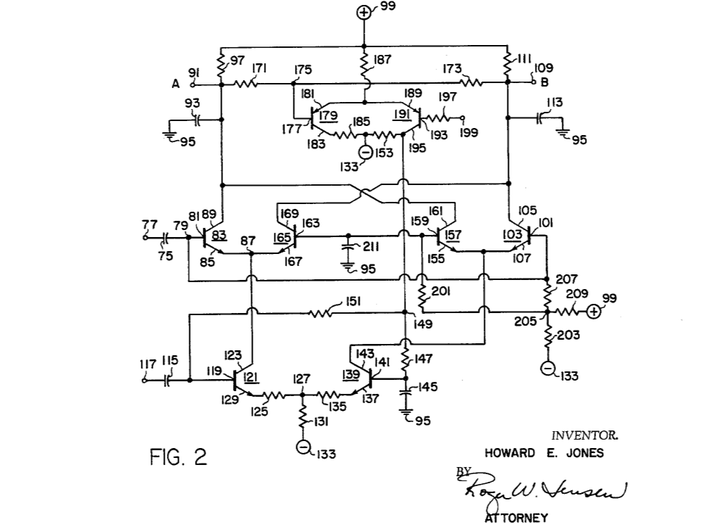
CA3028は1966年発売。single balanced mixerでの特許は1963年。
ダブルバランスドミクサー1963年特許
CA3028を使ったSSBトランシーバはTENTEC509 1971年発売。
MC1496は1967年 論文公開。
「もどき 」と云いだしたのは自虐的に云っただろうが、ことばが一人歩きしている。
昭和15年から昭和40年までの生まれが 「 CA3028 ] 「 もどき 」 と文字にしている。 まあ英文特許でCA3028を検索すると進歩性がでているので、読んだほうがいいとおもう。
自分の作品に愛着を持てない者が 悪い意味で使うならば 日本語としては正しい。
擬き(もどき)」は、① 似せて作られたもの、まがいものを意味し、② 非難の意味もあります。
誉め言葉でもなく、良い意味で使うことばではない。
*************************************
日本語を理解しておる サイテックさんは もどき とは名つけてないと思う。
CY7045として特性公開しておられる。
************************************
CA3028樹脂パッケージ品は 1個300円ほどで中国で販売しておる。SSB復調時にゲインが取れるデバイスなので重宝しておる。 3.5Vからプラスゲインで動作する。 NE612は4.5V必要。455kHz帯では低周波トランス負荷(昇圧回路)でないと マイナスゲインになる。
