日立のアンプ

Mf125hma6500out_r

**********************************************

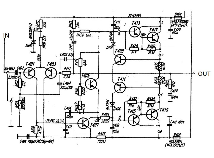
発振止めのコンデンサーが入っている。日本では中和と呼ぶのが戦前からのルール。

00rcs

コメント(0)