日本で初めてのトランジスタ seppは1962年発売のtrio tw-30になる。
1960年代半ばには有名なメーカーは半導体SEPP AMPをリリース済み。
***********************************************************
1936年には3極管でのsingle ended pp回路案(米国特許になっている)が公開されている。(ちょっと魂消た。90年近く歴史があった) その頃、日本ではどうしてた???。
seppでは 出力トランスタイプ と 出力トランスレス(OTL)タイプの 2通りがある。いま日本では半導体式SEPP OTLが 主流である。
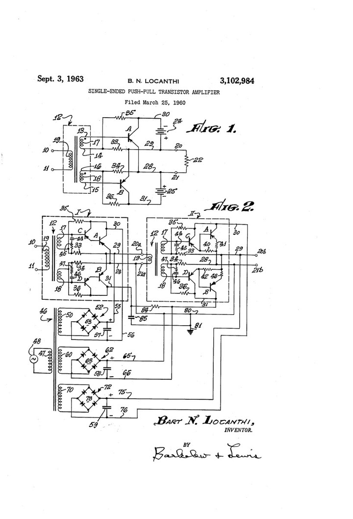
日本で初めてのトランジスタ seppは1962年発売のtrio tw-30になる。 以後sonyも後追いしてきた。1966年には大方のaudio makerから国産半導体アンプが市場投入されている。 この内容は1980年頃の刊行本に載っているので、それを読んだかどうかねえ?
トランジスタ seppは下写真のようにB級動作。 回路を読めない者(雑誌文系??)がA級動作と吹聴するから混乱する。「SEPPをA級動作では説明できないことが理解できない」オツムらしい。
株式会社誠文堂新光社;「無線と実験」ではCLASS A1,A2 をデッチ上げるのげ面倒だ。
「初歩のラジオ」編集部はまともなので、「無線と実験」編集部が 回路をよめないことも判った。
******************************************
sepp は B級動作。
Single-ended_Push-pull_Amp_IRE.pdfをダウンロード
********************************************************
single TRではpushも pullも出来ない。お休み時間なくイン信号を増幅するのでA級動作だ。
seppは、CLASS_Bに分類されている。1サイクルにおいてpush用半導体 と pull用半導体を必要とする。其々半導体からみれば1/2サイクルづつお休みモードになる。
conduction angle の説明。これを理解できないと恥ずかしいことになる。
CLASS_Bだと上側波形と下側波形での繋ぎ点がスムーズでないので、CLASS_A側に動作点を持っていく。それがCLASS_AB。上図が理解しやすい。
半導体での技術は1970年、71年に英語圏で確率された。日本はそれを真似たようなので文献が拾えない。英語圏では current dumperと呼んでいる技術だ。
CLASS_AB動作では送信機のGGアンプが良く知られており3CX1500,3CX700tubeもyahooで見掛ける。CLASS_ABの動作説明は、日本のリニアアンプ本に載っており、オイラも1960年後半には読んでいた。
audio工作派の知らない世界に「CLASS_AB2, CLASS_AB1の飛びの違い」がある。電離層で幾度も反射して届く電波(SSB)では、「 電波受信する側で CLASS_AB1 と CLASS_AB2との違い 」が耳でわかる。Sメーターの振れ具合でも判る。
上側と下側のつなぎ歪は、 アイドリング電流大小で違う。CLASS_Aに持っていくにはアイドリング電流を増やす。このような話は1960~1970年の刊行本には公開されている基本? なので、WEBにはないように思う。
アイドリングが小さいと音に艶が無くなる。供給エネルギーと出力エネルギーの比は、変換効率(能率)になる。 音がよいと評判の品をみると効率10%程度だ。 9割を熱等にて捨てている。
*************************************
GG AMPをCLASS_A2と誤称しているSITEがあった。送信球を知らないことも判った。GG AMPはCLASS_AB.
