ビギナー向けとして興したRK-226基板だが、クリスキットP-35型を参考にしたRK-279と遜色ない音でなっていた。 ここ。
クリスキットP-35型は 調整が必須であるが、ディスリートヘッドホンアンプ基板は無調整。いわば半田つけして終了。 手前味噌だがこのRK-226の音の良さに驚いた。 P-35型より低域は豊かであると付けくわえておく。
*****************************************
*****************************************
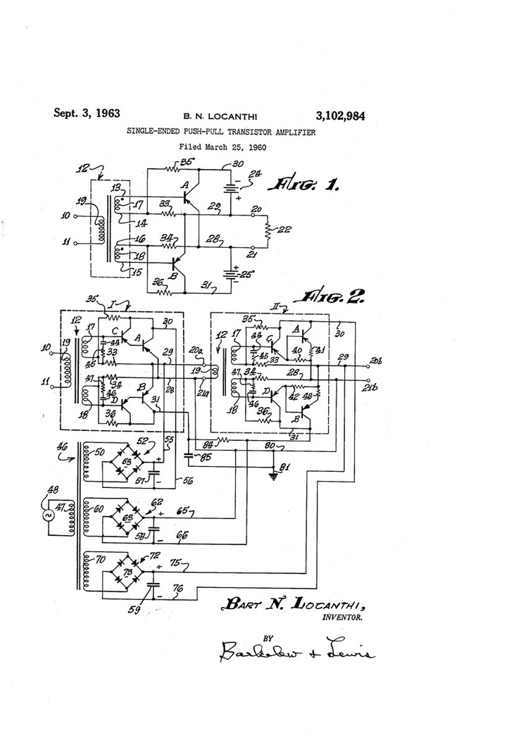
これがSEPP特許 。 おそらくこの1960年特許近傍から回路が固まりはじめる。
「上側波形を受け持つデバイス と 下側を受け持つデバイス との繋ぎ具合」はまだ議論すらされていない
**************************************************
SEPP AMPの原型(current dumper タイプ、ブーストトラップ等)は1970年に回路完成。ここ。
回路作者ごとにCLASS_Aと呼ぶ者、 CLASS_AB, CLASS_Bと呼ぶので明確な呼称ルールは発見できていない。
single ended push pull ampなので、CLASS_Aではない。 CLASS_Aでの動作概念にpush pullはでてこない。つまり push pull動作をCLASS_A と呼ぶマヌケが主流である。「これは地球は平面」と信じるのと同程度に オツムが悪い。
device動作はCLASS_Bであるが、current dumperにより「終段としてはCLASS_Aに近い、ABになる」。
察するにヒトが不自然な繋ぎを見つけられないだけだろう。
*****************************************************************
2sa1015と2sc1815でつくるディスリートヘッドホンアンプ基板キット。無調整なのでビギーナー向けです。
・1chに9石。差動入力でseppに受け渡す超古典な回路です。5v供給で出力120mW前後。歪ませると150mWで鳴ります。
・ぺるけ氏アンプ は全般に差動入力なので大入力(660mV等)を必要としますが これは140mV前後でフルパワーになります。PC音源で鳴らすとこのアンプの方が使いやすいのも事実です。
・2SC1815は Po400mWなので 5V供給での出力は100mW超えが精いっぱいです。
・もっと大出力(300mW?)ネライであれば終段をパラレルにした RK-226v2を用意しています。
・差動入力ではあるが「同負荷 差動入力回路」ではなく、audio系でよく見かける「片側負荷 差動入力」なので、特性を揃えても電流はイコールにならない。
PC音源で鳴らすと半田工作時のBGMに丁度よい音量で聞こえてきます。8畳部屋でBGM聴くには最適な自作基板です。
単4が4本でガンガンなります。
YouTube: ディスクリートアンプ /2SA1015+2SC1815 (100mW ? )の音
DC電源を自作した例。
YouTube: ディスクリートアンプ /2SA1015+2SC1815 の自作電源
クリスキットP-35を参考にした回路基板。
YouTube: headphone amp :max out put 125mW (9V supply) d.i.y
***********************************
「PP 回路が だいたいA級 」との眉唾が上がっていた。
