集積回路 ICは1961年には史上に登場し流通していた。
ライセンスビジネス的には、1966年におよそ20社の合意が集積回路の権益形成された。
直交復調器としてはCA3028に見られる差動入力特許が1963年に提出:公開されている。
FM帯IC :ULN2111Aが1967年に登場しMC1496が1968年に発売されている。ULN2111AでAM同期検波が出来ることを開発側は知っていたので、それ用のICを興すに至っている。
ギルバートセルが1967年に発表された。それ以前からCA3028,LM3028等バランスドミクサー作動するものが存在していた。 1963年申請特許にはダブルバランドミクサーも出願され有効になっているが、それを簡略化したものがギルバート氏から提案されたので 後発ではあるが彼が有名になった。 恐らくは特許分類で 電子計算機分野の発明で提出したのが成功要因だろう。
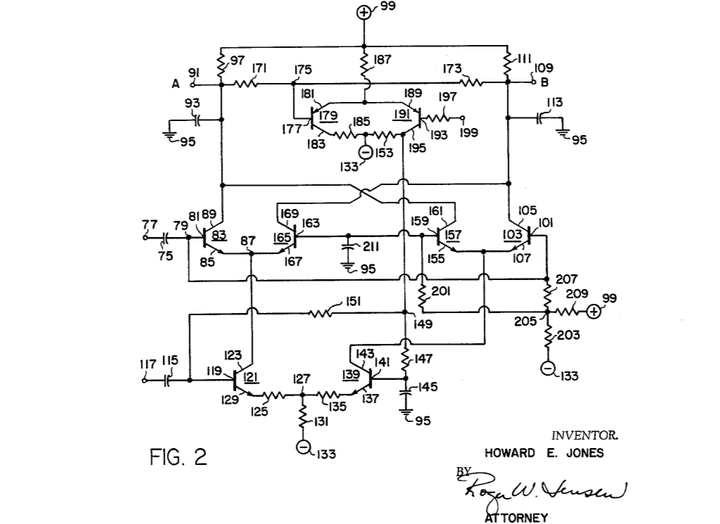
「1963 年にハワード ジョーンズによって最初に使用された初期回路の一般化されたケースであり 1967 年にバリー ギルバートによって独自に発明され、大幅に拡張されました。」と原典に書いてある。 初期回路の一般化とは 2トランジスタを簡略したことを指す。同じ年代の米国人からの評価がさほどなことをみても、ハワード ジョーンズ回路の簡略版との位置づけであっているようだ。
下のはCA3028(TA7045)等に使われている差動回路である。
これも申請は1963年。1966年公開特許。FIG1とFIG2の隙間を狙ったようなのがギルバート・セル。往時のエンジニアがさほど誉めていないことの背景は上記特許にある。推測するにFIG1(簡易版),FIG2(高級版)で全部特許を押さえられるとおもっていたんだろうが、隙間を攻められちゃったね。
*************************************************************
新しくダイレクトコンバージョン回路を作図中であるが、ダイレクトコンバージョン市販機をさらっと調べてみた。
トランジスタの40673(RCA) を採用したものがDC受信機では古い。MC1496は1968年には流通していた。 IEEE paperに “Applications of a Monolithic Analog Multiplier” とアナウンスされていた。
ギルバート氏とFM ICや mc1496との関連は確認中であるが、ギルバート氏が考案発表した?とされるモノが実は製造流通品の発展形な可能性はある。
MC1496はSL1496の型番で英国pesseyからも発売されていた。LM1496も流通した。キャリア抑圧比が-60dBと7360並みなことで1496は普及した。
日本でdc機に注目されるようになったのはミズホ通信によるところが大きい。
サトー電気の1976年価格でLM1496は500円。TA7045は600円。
40673はheath kit パーツリストにはtransistorと英文表記の時代。「電界効果トランジスタ」の活字が日本でも多数見られた時代。fetの3文字ネーミングが定着するのはもう少しのちのことだ。
3.5~21MHzでのAM波形美しさではMC1496がTOPである。HF帯txにおいてはMC1496>>NE612だろう。キャリア抑圧比でもMC1496 >> NE612だ。
tube 7360が1961年リリース、1966年に7630回路特許成立なので、1968年MC1496登場には皆驚いた模様。最も1966年には6石乗算回路がThe Review of Scientific Instrumentsに公開されおり、オランダフィリップスからは乗算の真空管回路、トランジスタ回路が1967年に公開されていた。
1496のam txはここ。
**********************************
DUAL GATE MOS FET (DG-MOS-FET)の作例ではミズホ通信のものが判り易いと思う。JF1OZL氏のsiteにも作例が多くある。
熊本スタンダードがcq誌に登場したのはミズホ通信から5年ほど遅れて1981年のことである。
amトランシーバー:
・オイラ的には3SK114によるAM変調に興味がある。JH1FCZが取り組んでいたテーマであることは有名だ。
・LA1600は通り抜けがあるので自励式がベスト、セパレートOSCはさほど推奨できない。
・ラジオとその延長にあるものに興味があるのでダブルスーパー(TDA1072,LA1600)まで基板化した。TCA440よりも扱い易そうなデバイスがあったので手元に届いた。
昨日のdc機はこの配置になると想う。agcも載せた。
****************************************************************
「ギルバート・セル」で行える動作は、
・2倍波の作成 (diodeによる2倍波より格段に綺麗)
・am復調 (同期検波と呼ばれる)
・fm復調 (外部にosc必要)
・mixer
・am変調
上記のはすべて数式で理論が公開されている。
